Uncategorised for Flavel Finesse Chrome Pebble
Brand: Flavel Range: Finesse Model: Chrome Pebble Appliance Code: FSRPYYMN
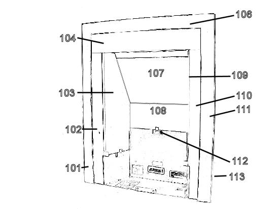
We have a range of spare parts for the Flavel Finesse Chrome Pebble. Can't find the part you're looking for? You can contact us and a member of our team will be more than happy to help find the part you need.
All of our boiler manuals are free to download from our boiler manuals section
You can narrow your results further by choosing one of the following sub-appliances:

