Ideal Commercial Viscount GT

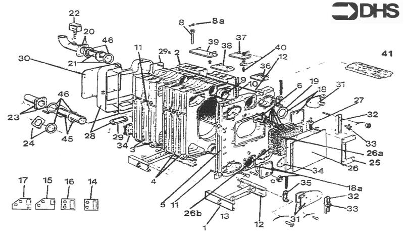
We offer a wide range of spare parts for the Ideal Commercial Viscount GT. Can't find the part you're looking for? You can contact us (using the details at the bottom of the page) and we'll be happy to help you find the part you need.

All of our boiler manuals are free to download from our boiler manuals section.

ALL PARTS FOR THIS MODEL
BOILER BODY ASSY logo
BOILER BODY ASSY
CASING ASSY
CONTROL PANEL ASSY logo
CONTROL PANEL ASSY