Potterton Promax HE Plus A System 24 LPG

We offer a wide range of spare parts for the Potterton Promax HE Plus A System 24 LPG. Can't find the part you're looking for? You can contact us (using the details at the bottom of the page) and we'll be happy to help you find the part you need.

All of our boiler manuals are free to download from our boiler manuals section.

ALL PARTS
ALL PARTS
COMBUSTION BOX logo
COMBUSTION BOX
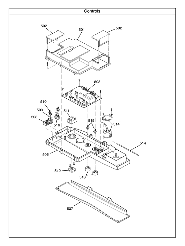
CONTROLS logo
CONTROLS
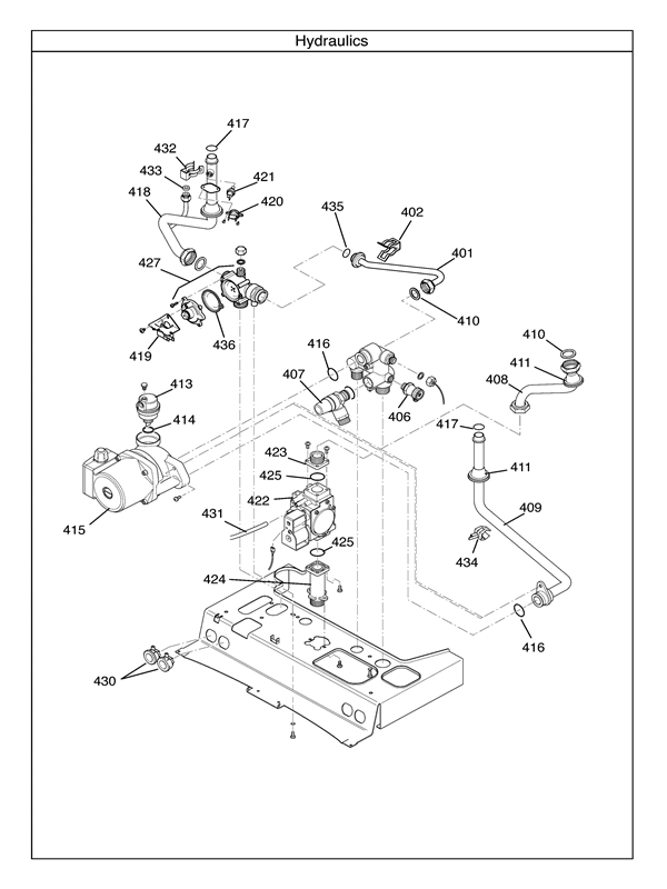
HYDRAULICS logo
HYDRAULICS
WALL JIG AND HYDRAULIC CONNECT logo
WALL JIG AND HYDRAULIC CONNECT