Baxi Platinum 2 Combi Ga 40

We offer a wide range of spare parts for the Baxi Platinum 2 Combi Ga 40. Can't find the part you're looking for? You can contact us (using the details at the bottom of the page) and we'll be happy to help you find the part you need.

All of our boiler manuals are free to download from our boiler manuals section.

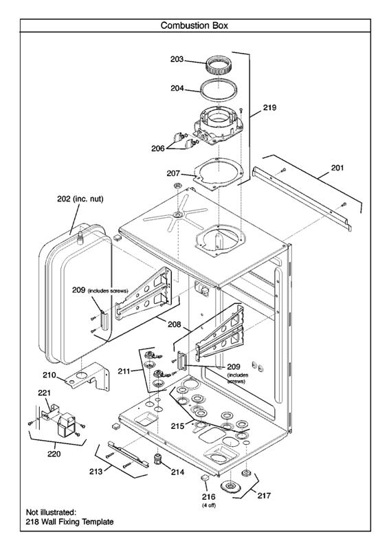
COMBUSTION BOX logo
COMBUSTION BOX
HEAT EXCHANGER logo
HEAT EXCHANGER
OUTER CASE logo
OUTER CASE