Uncategorised for Flavel Winsor Coal Cont
Brand: Flavel Range: Winsor Model: Coal CONT Appliance Code: FSRCU0MN
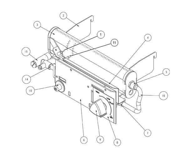
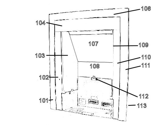
Here you can find the spare parts for the Flavel Winsor Coal Cont. Can't find the part you're looking for? You can contact us and a member of our team will be more than happy to help find the part you need.
All of our boiler manuals are free to download from our boiler manuals section
You can narrow your results further by choosing one of the following sub-appliances:

