Uncategorised for Broag Gas 210 Eco Pro 200Kw
Brand: Broag Range: Gas 210 Model: Eco Pro 200KW GC Number: 47-673-03
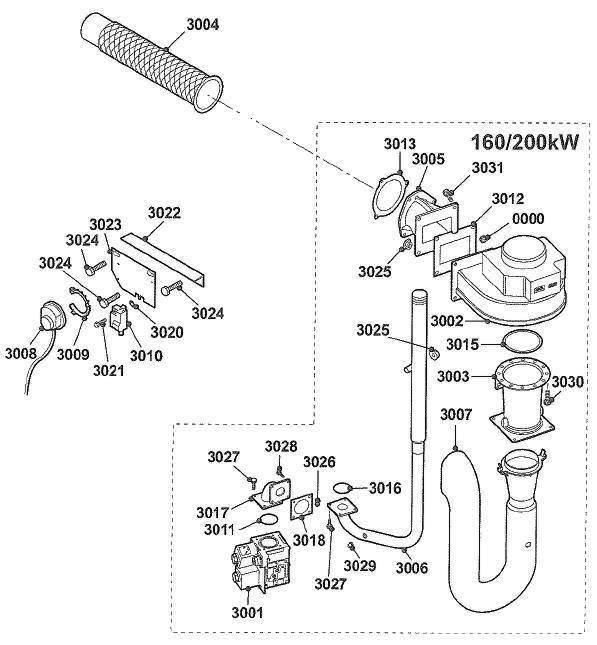
Here you can find the spare parts for the Broag Gas 210 Eco Pro 200Kw. Can't find the part you're looking for? You can contact us and a member of our team will be more than happy to help find the part you need.
Installation ManualAll of our boiler manuals are free to download from our boiler manuals section
You can narrow your results further by choosing one of the following sub-appliances:
