Miscellaneous for Main Charm Mahogany / Teak P779
Brand: Main Spare Parts Range: Charm Model: Mahogany / TEAK P779 GC Number: 32-467-14
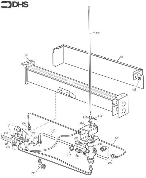
We have a wide range of spare parts for the Main Spare Parts Charm Mahogany / Teak P779. Can't find the part you're looking for? You can contact us and a member of our team will be more than happy to help find the part you need.
All of our boiler manuals are free to download from our boiler manuals section
You can narrow your results further by choosing one of the following sub-appliances:





